
湖北玖天机车部件有限公司
地址:湖北省孝感市安陆市府城街道办事处洪庙社区兴洪路1号
联系电话:0712-5250699
0712-5251699
紧固件的防松不仅仅有物理胶,还化学胶,也叫微胶囊粘附层,相比于物理胶,化学胶防松效果和密封效果较好,但相对成本较高,紧固件化学胶相关技术和检测要求。
以耐落为例子,目前用在大众系统的紧固件化学胶主要有precote 30,precote 80,precote 85三种,如图1所示。
图1 耐落化学胶
02 原理和工艺
2.1 物理胶防松原理
化学胶在拧入螺钉后,经过一段时间发生化学反应并进行固化,固化后的胶起到螺栓的防松效果。
2.2 工艺过程
化学胶的涂胶过程如下(示意图见图2):
使螺丝通过治具调整,待化学胶滴淋加工时保持同一位置。化学胶原料用压力泵通过滴嘴,滴淋到螺丝上,螺丝与滴嘴相垂直并匀速传过。原料紧密贴附在螺纹上,多余原料通过下部刮片刮除。通过气流加热方式使原料干燥凝固。图2 螺栓涂胶示意图
图2 螺栓涂胶示意图
2.3 涂胶类型
耐落应用于大众系统的化学胶有precote 30,precote 80,precote 85三种,其应用的环境如表1所示,表2是耐落化学胶与DIN267-27所对应的关系。
其中MK是对螺纹摩擦系数无特殊要求的涂层,MKL是带确定的螺纹摩擦系数的涂层。
表1 耐落化学胶的应用条件
表2 耐落化学胶与DIN267-27对应关系
03 涂胶技术要求
3.1 涂胶尺寸要求
从螺钉尾部开始测量,涂层区的长度应为1.5 d ± 2 p,除另有其他规定。但是前两个或三个螺距不得有涂层,以方便拧入(见图1)。当发现涂层的残余物影响预期的功能和/或使用时,才可以在图纸中定义新的要求。
图3 常规涂层的长度和位置
图解:
Lb涂层长度;d螺纹标称直径;a2至3个螺距无涂层;p螺距。3.2 涂胶性能要求
1)带预紧力测试要求
带预紧力涂胶性能测试要求见表3,不带预紧力涂胶性能测试要求见表4。
表3 室温、100℃和150℃下的测试扭矩和测试扭矩比例(带预紧力)
表4 室温、100℃和150℃下的测试扭矩(无预紧力)
相关名词解析:
拧入扭矩MEin:拧入螺钉时的测试螺母测量扭矩;拧紧扭矩MA:生成预紧力所需的扭矩;起动扭矩MLB:带或不带预紧力的粘性螺纹连接中,在测试螺母和螺钉之间在拧开方向第一个相对运动所测得的扭矩;拧出扭矩MAus:起动后拧出带粘附层螺钉所测得的最大扭矩。3.3 摩擦系数要求
如果带粘附层的螺钉要求一个确定的螺纹摩擦系数范围(MKL),则该范围必须在0.10至0.16之间。螺纹摩擦系数测试根据ISO 16047进行。
如果带粘附层的螺钉对摩擦系数无特殊要求(MK),则没有特定的螺纹摩擦系数围。
3.4 测试过程
1)预紧力测试
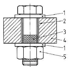
待测螺钉在涂上微胶囊粘附层后,在室温下经过至少24小时的干燥,采用不大于30 min-1的转速将螺钉拧入测试螺母,通过测试垫片(200 HV至300 HV范围)固定在测试板或测试套管中(图4),直至测试拧紧扭矩达到表1的值为止。
在此必须测量最大拧入扭矩。测试螺母应完全位于涂层区内。在100℃或150℃下进行测试时须根据图4使用测试套管。
图4 测试装置
图解:
1测试垫片;2通孔;3涂层;4测试套管,外径 ≥2 x d,硬度 > 35 HRC;5测试螺母。2)无预紧力测试
使用不超过30 min-1的转速将待测螺钉拧入测试螺母,使测试螺母应完全位于涂层区内,即完全覆盖涂层区。测量最大拧入扭矩MEin(表4)。
粘合剂在(23 ± 5)℃下经过至少24小时的固化时间后,在使用不大于30 min-1的转速拧出螺钉时确定拧开扭矩MLB和拧出扭矩MAus。
在较高温度下进行测试时,螺钉在经过至少24小时固化后还须在各测试温度下放置3小时,并须在从加热箱中取出后10秒内进行测试。
04 总 结
紧固件的化学胶防松密封原理是通过紧固件拧紧后微胶囊粘附层发生化学反应进行固化,固化后的胶起到螺栓的防松密封效果。耐落的紧固件化学胶类型有precote 30,precote 80,precote 85三种主要类型,选用的关键技术指标是密封效果、防松性、应用温度和摩擦系数要求。涂胶的认证项目主要有涂胶长度和位置,带预紧力下的相关扭矩要求(表3),不带预紧力下的相关扭矩要求(表4),摩擦系数要求(主要针对MKL类型)。